正航介紹——水平帶式真空過濾機
正航介紹——水平帶式真空過濾機1 范圍
本標準規定了帶式真空過濾機的型式、基本參數、技術要求、試驗方法與檢驗、標志、包裝、運輸和貯存等要求。
本標準適用于帶式真空過濾機。
2 規范性引用文件
下列文件中的條款通過本標準的引用而成為本標準的條款。凡是注日期的引用文件,其隨后所有的修改單(不包括勘誤的內容〉或修訂版均不適用于本標準,然而,鼓勵根據本標準達成協議的各方研究是否可使用這些文件的版本。凡是不注日期的引用文件,其版本適用于本標準。
GB/T191 包裝儲運團示標志(GB廳191-2∞O. eqv ISO 780: 1997)
GB/T699 碳素結構鋼
GB/T7∞碳素結構鋼(GB廳7∞-1988. ßi噸DIN 630: 1987)
GB/T983 不銹鋼焊條(GB廳983-1995. neqANSIIAWS A5.4: 1992)
GB/T985 氣焊、手工電弧焊及氣體保護焊焊縫坡口的基本形式與尺寸
GB/T1184-1996 形狀和位置公差未注公差值(eqv ISO 2768-2: 1989)
GB/T21∞ 一般用途耐蝕鋼鑄件(GB廳21∞-2∞2. eqvISO 11972: 1998)
GB/T3077 合金結構鋼(GB廳3077-1999. neqDINEN 1∞83-1: 1991)
GB/T3280 不銹鋼冷軋鋼板
GB/T4237 不銹鋼熱軋鋼板(GB廳4237一1992. neq ns 04304: 1984)
GB/T778薩一1987 過濾機型號編制方法
GB/T10894 分離機械噪聲測定方法(GB廳10894-2∞4. ISO 3744: 1994. NEQ)
GB/T11352 一般工程用鑄造碳鋼件(GB廳11352-1989. neqIS03755: 1975)
GB/T13306 標牌
GB/T13384 機電產品包裝通用技術條件
GB/T14408 一般工程與結構用低合金鑄鋼件
GB/T14975 結構用不銹鋼無縫鋼管(GB廳14975-2∞2. ASTMA269: 2陰陽. NEQ)
GB/T4385.1 錘上自由鍛件通用技術條件
B/T7217 分離機械涂裝通用技術條件
m/T8102 帶式壓榨過濾機
m/T8947 固定室帶式真空過濾機用橡膠濾帶
3 術語和定義
下列術語和定義適用于本標準。
3.1真空童vacuumbox
形成真空的工作腔。
3.2驅動輪driving roller
JBlfS653-一.2006
傳遞動力的輯輪。
3.3托輯filter cloth roller
支撐濾帶的輻子。
3.4張緊輯tensioning roller
用于張緊濾帶的輻子。
3.5導向銀guiding rolIer
用于改變濾帶運行方向
3.6卸料輯discharge
用于卸料而設置的輯子
3.7過濾帶filter belt
用于截留固相物而允
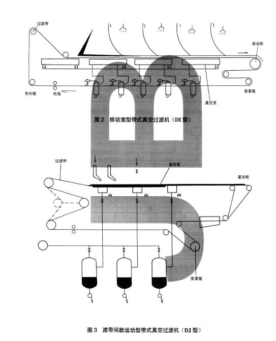
4 型式
4.1 結構型式
帶式真空
a) 固定室型帶式真空
b) 移動室型帶式真空
c) 濾帶間歇運動型帶式真空過濾機(DJ 型);
d) 固定室型帶式真空過濾機(履帶式) (DL 型〉。
圖1 、圖2、圖3 、圖4 分別為四種類型的帶式真空過濾機結構示意圖。

